BECA 391

Description
Le profil BECA 391 est un joint de tige d'amortissement pneumatique encliptable et réalisé en élastomère.
Avantages
Effet d'amortissement efficace constant avec centrage en automatique
Données techniques
| Température | -30°C / +150°C |
|---|---|
| Pression | 1,6 MPa |
| Vitesse | 1 m/s |
| Fluides en contact | Air lubrifié |
Applications
Amortisseurs
Distributeurs
Vérins standard
Matériaux
NBR 90 Shore A
FKM 90 Shore A
Téléchargement
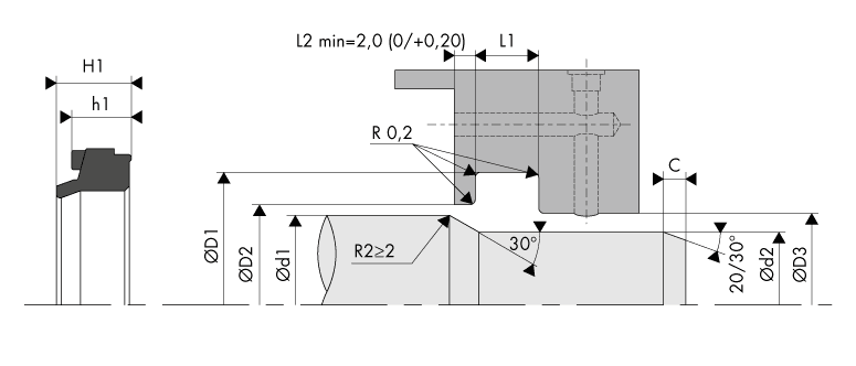
Fiche produit - joint pneumatique de tige - BECA 391Dimensions

Matériaux
NBR
Caoutchouc nitrile (NBR) est le terme général pour l'acrylonitrile butadiène copolymère. La teneur en ACN peut varier entre 18% à 50%. Plus la teneur en acrylonitrile est importante, meilleure est la résistance à l'huile et au carburant. A l'inverse, l'élasticité et la déformation rémanente à la compression sont moins bonnes. Le NBR présente de bonnes propriétés mécaniques et une bonne résistance à l'usure. Cependant sa tenue aux agents atmosphériques et à l'ozone est relativement faible.
| Résistance chimique | Hydrocarbures aliphatiques (propane, butane, le pétrole, le carburant diesel) Huiles minérales et graisses Fluides difficilement inflammables (HFA, HFB et HFC) Acides dilués, solutions alcalines et salines à basses températures Eau (jusqu'à +100°C max) |
|---|---|
| Problème de compatibilité | Carburants à haute teneur aromatique Hydrocarbures aromatiques (benzène) Hydrocarbures chlorés (trichloréthylène) Solvants polaires (cétone, acétone, acide acétique, éthylène-ester) Acides forts Liquides de frein avec une base de glycol Agents atmosphériques et ozone |
| Plage de température | -30°C / +100°C |
FKM
En fonction de leur structure et de leur teneur en fluor, les élastomères fluorés peuvent varier en terme de résistance chimique et de résistance au froid. Cet élastomère à base de FKM est très souvent employé pour l'hydraulique et le pneumatique à température élevée, pour la robinetterie industrielle, pour l'injection / carburation, pour les joints de moteur, pour le vide poussé.
| Résistance chimique | Huiles minérales et graisses, huiles ASTM n°1, IRM 902 et IRM 903. Fluides difficilement inflammables (HFD) Huiles de silicone et graisses Huiles minérales et végétales et graisses Hydrocarbures aliphatiques (propane, butane, pétrole) Hydrocarbures aromatiques (benzène, toluène) Hydrocarbures chlorés (trichloréthylène) Essence (y compris à haute teneur en alcool) Agents atmosphériques et ozone |
|---|---|
| Problème de compatibilité | Liquides de frein avec une base de glycol Gaz ammoniac Acides organiques à faible poids moléculaire (acides formiques et acétiques) |
| Plage de température | -20°C / +200°C |
Données techniques

Etats de surface
| Rugosité | Surface dynamique | Surface statique | Flans de gorge |
|---|---|---|---|
| Ra | 0,1 - 0,4 µm | ≤ 1,6 µm | ≤ 3,2 µm |
| Rz | 0,63 - 2,5 µm | ≤ 6,3 µm | ≤ 10,0 µm |
| Rmax | 1,0 - 4,0 µm | ≤ 10,0 µm | ≤ 16,0 µm |
Uniquement sur demande